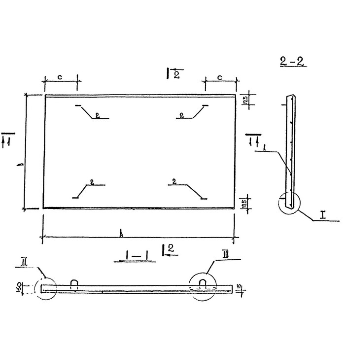
Плита подкладка ПП 4 представляет собой плоскую железобетонную конструкцию, предназначенную для использования в строительстве. Она имеет прочную струкру и высокую износостойкость, что обеспечивает долгий срок службы изделия. Плита подкладка ПП 4 обладает гладкой поверхностью, что облегчает ее укладку и обеспечивает ровное распределение нагрузки. Этот элемент является неотъемлемой частью железобетонных конструкций и используется для создания прочной основы.
Плита подкладка ПП 4 широко применяется в строительстве для укладки на фундаменты, стены, перекрытия и другие элементы зданий и сооружений. Она обеспечивает надежную опору и защи от деформаций, что делает ее необходимым элементом при возведении зданий различного назначения. Плита подкладка ПП 4 также используется в дорожном строительстве для создания прочных оснований под дорожное покрытие. Благодаря своим качествам и надежности, данное изделие пользуется популярностью среди специалистов в области строительства и обладает высокой эффективностью в использовании.









